• WORK
  • CLIENT LOGIN
  • SERVICES
  • ABOUT

_LQDDZN

  • WORK
  • CLIENT LOGIN
  • SERVICES
  • ABOUT

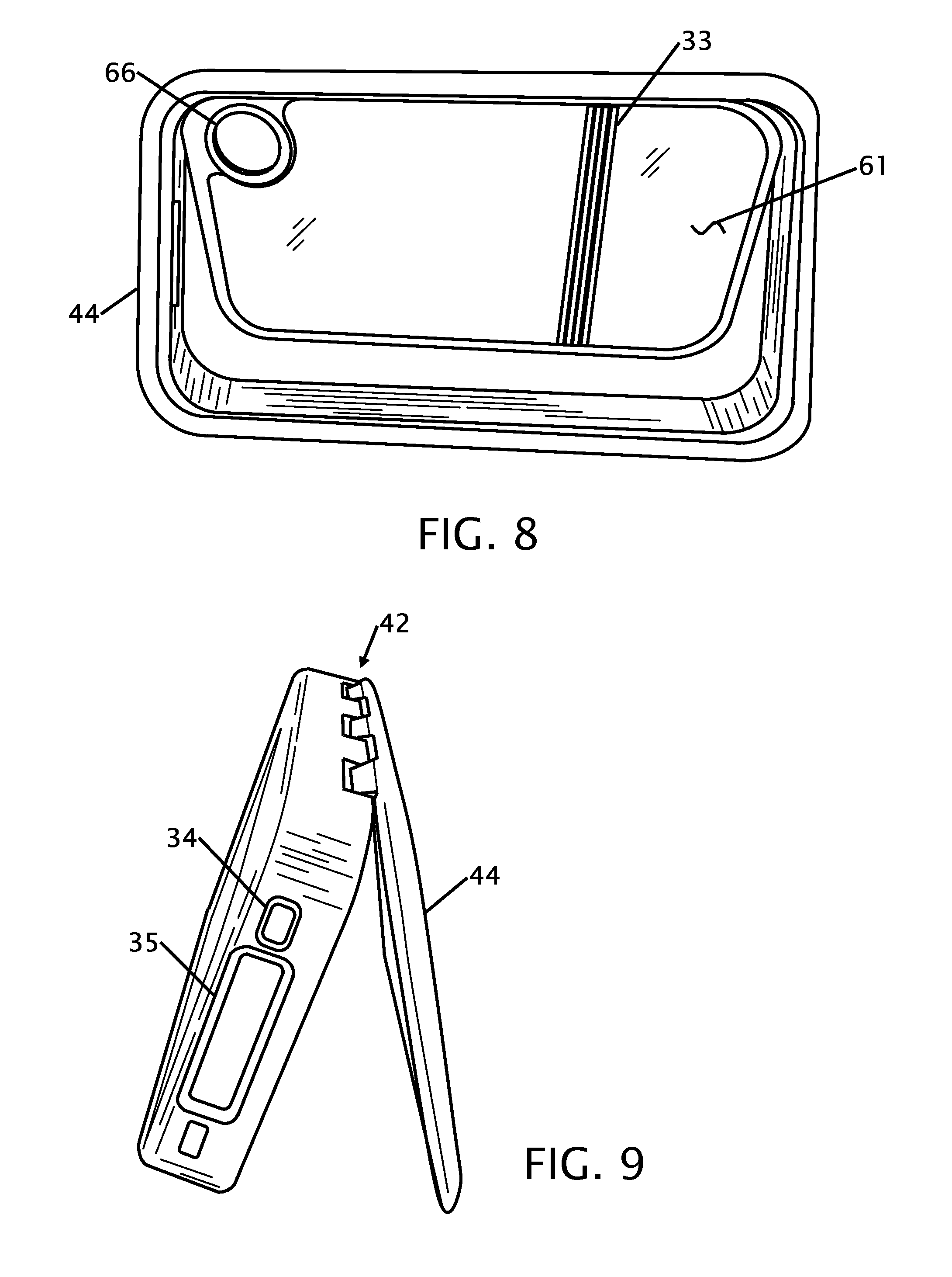
MJ PHONE COVER

Project: iPhone Cover Patent development

ROLE:

- Principle inventor

- 3d model

- Prototype

Compact+design.jpg
Screen Shot 2020-04-08 at 9.12.15 AM.png
Patent dev 2.jpg
Iphon-cover-patent.png
COMPACT+2.png
COMPACT+3.png
COMPACT+4-1.png
COMPACT+4.png
COMPACT+PAT.png

ALL DESIGN AND IMAGES ARE COPYRIGHTED UNDER LIQUID DESIGN INC. © 2024